一、研发背景
已通车高速公路作为交通出行的“大动脉”,其汛期通行安全直接关系到人民群众生命财产安全与社会经济活动的顺畅开展。然而,在长期运营过程中,部分路段因历史建设遗留问题、自然环境变化等因素,汛期积水隐患日益凸显:一方面,早期预埋的排水管因年久失修、泥沙淤积等出现堵塞或损坏,排水能力大幅下降;另一方面,部分路段受地形地势限制(如桥底、低洼路段),加之周边建筑物、管线密集,无法采用传统封道开挖方式更换或敷设排水管,导致强降雨天气下路面易形成大面积积水。高速行驶车辆易出现“水滑”现象,引发失控、追尾等交通事故,不仅威胁司乘安全,也对高速公路正常通行秩序造成严重影响。
为破解这一难题,非开挖式的顶管技术因“不破坏路面、不影响通行”的核心优势,成为已通车高速公路积水治理的优选方案。
针对上述“积水治理迫切性高、传统施工痛点突出”的双重困境,梧州高速公路运营有限公司梧州分公司以“保障汛期通行安全、提升积水治理效能”为核心目标,聚焦“施工稳定性、操作便捷性、安全防护性”三大核心需求,研发高速公路积水治理专用顶管施工防护装置。
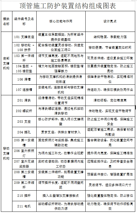
二、装置结构组成

三、工作原理
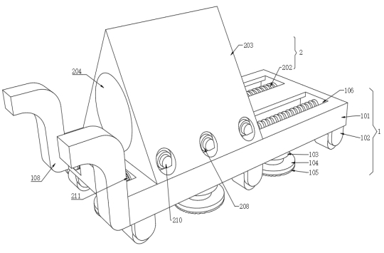
1. 装置定位与基础支撑:推动扶手108,通过移动轮102将装置移至顶管洞口;调节第一伸缩杆103,使垫板104+橡胶垫105接触地面,利用摩擦力固定装置位置。
2. 支座精准对位与洞壁支撑:启动电机211,驱动螺纹杆202转动,带动滑块201沿滑槽106滑动,将支座203插入洞口内,实现洞壁支撑,防止垮塌。
3. 施工辅助与监控:通过支座204插孔穿入排水管材;开启探照灯206补光,利用监控器207实时监测洞内施工状态。
4. 强化稳定性:调节第二伸缩杆209长度,将插杆210插入土壁,增加支撑点,进一步提升装置稳定性。(如图)

1. 聚焦痛点,靶向研发:以已通车高速公路汛期积水治理难题为导向,针对“排水管堵塞损坏无法封道施工”“顶管施工机械不稳、洞口易垮塌”等关键问题,从“固定支撑+施工防护”双维度设计装置,确保技术方案精准匹配现场作业需求。
2. 模块化设计,简化操作:采用“底部支撑机构+移动支撑机构”模块化结构,通过可调节伸缩杆、电机驱动滑块等组件,实现装置灵活移动、精准对位与快速拆装,解决传统防护装置“操作复杂、耗工耗时”问题,降低施工人员操作难度。
3.治理效果较传统路面积水处治方法好:传统路面积水处理办法包括路面刻槽、路面刻纹、防撞护栏扩孔、设置预告标志提示等。其中路面割槽及路面刻纹对路面结构有一定程度损伤,对路面技术状况指数影响较大,同时需要经常性的对刻纹位置及刻槽位置进行清理,排除淤积在缝中的石屑泥土,管养难度较大;防撞墙护栏扩孔不具有普适性,仅在路侧设置有混凝土护栏路段可以实施;而设置预告标志提示无法从根源上消除路面积水隐患,仅能做到提示过往司乘人员小心驾驶。而顶管施工新增排水管则可以有效解决路面积水问题,适应各类地形,使用场景广泛,是运营高速处理路面积水难题的首选方法。
4. 试点验证,数据支撑:优先在梧州绕城路k15+500-560段、城东2号互通E匝道桥底等积水点开展试点应用,全程记录施工效率、安全隐患发生率、积水治理效果等数据,以“实际案例+量化数据”夯实工作成效,为后续推广提供实证依据。
五、实施过程安全效果
1. 施工安全全面强化:装置通过“支座插入洞口支撑洞壁+插杆插入土壁增加支撑点+橡胶垫增强地面摩擦”三重防护,试点期间未发生任何施工安全事故。
2. 通行安全显著提升:因装置拆装便捷、施工效率高,机械占用应急车道时间大幅缩短,减少施工对路面通行的干扰;同时,积水治理后路面无厚积水,避免车辆高速行驶时失衡、失控风险,试点路段事故发生率较治理前显著下降。
3. 人员设备安全保障:装置集成探照灯补光、监控器实时监测功能,改善洞内施工视野,及时排查作业风险;对排水管材的有效保护,避免管材损坏引发的二次施工隐患,保障施工人员与设备安全。
六、社会安全效益
1. 守护司乘生命财产安全:通过高效治理路面积水隐患,从源头减少车辆失控、追尾等交通事故,直接保护司乘人员生命财产安全,提升公众高速出行的安全感与满意度。
2. 保障交通动脉顺畅运行:采用非开挖顶管技术配合该装置,无需封道即可完成排水管敷设,避免封道施工导致的交通拥堵、物流延误等问题,保障高速公路通行秩序,为社会经济活动提供稳定交通支撑。
七、推广价值
1. 技术复用价值高:装置适配不同地形、不同洞口尺寸的顶管施工场景,尤其适用于无法封道的运营路段,可广泛应用于全国高速公路汛期积水治理、地下管道更新等工程,技术通用性强。
2. 经济成本优势明显:装置可反复使用,能缩短施工工期、减少二次施工费用;同时,通过降低事故发生率,减少事故赔偿、交通疏导等间接成本,长期应用经济效益显著。
3. 行业推广意义重大:为高速公路运营管理单位提供“安全、高效、便捷”的积水治理工作方法,助力构建“隐患精准治理、施工安全可控、通行保障有力”的运营模式,具有重要推广意义。(广西交通投资集团梧州高速公路运营有限公司梧州分公司安全管理员 程智泉)
(新媒体责编:wa123)
声明:
1、凡本网注明“人民交通杂志”/人民交通网,所有自采新闻(含图片),如需授权转载应在授权范围内使用,并注明来源。
2、部分内容转自其他媒体,转载目的在于传递更多信息,并不代表本网赞同其观点和对其真实性负责。
3、如因作品内容、版权和其他问题需要同本网联系的,请在30日内进行。电话:010-67683008
人民交通24小时值班手机:17801261553 商务合作:010-67683008转602
Copyright 人民交通杂志 All Rights Reserved 版权所有 复制必究 百度统计 地址:北京市丰台区南三环东路6号A座四层
增值电信业务经营许可证号:京B2-20201704 本刊法律顾问:北京京师(兰州)律师事务所 李大伟
京公网安备 11010602130064号 京ICP备18014261号-2 广播电视节目制作经营许可证:(京)字第16597号